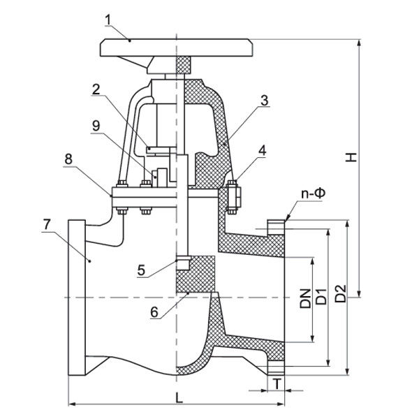
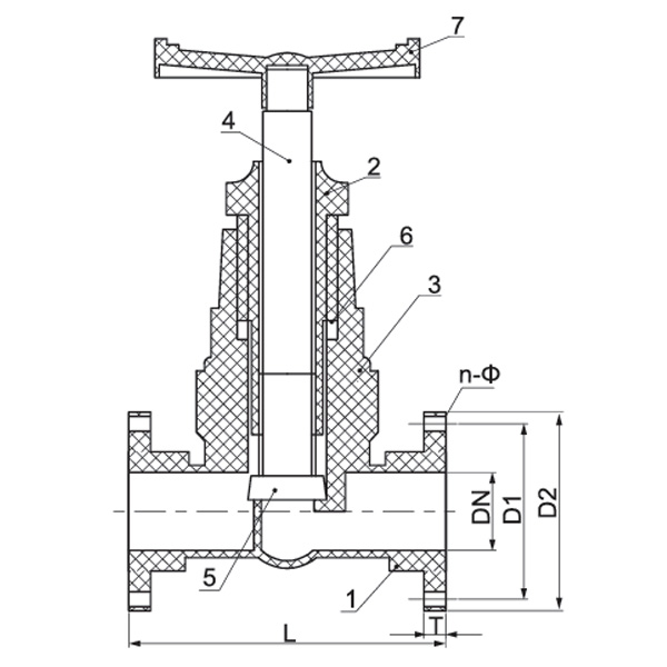
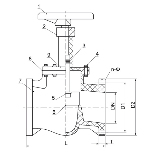
রাসায়নিক এবং শিল্প ব্যবহারের জন্য উচ্চ তাপমাত্রা DN15-DN100 প্লাস্টিক ভালভের মাধ্যমে সরাসরি CPVC ফ্ল্যাঞ্জ টাইপ গ্লোব ভালভ
মডেল নং: J11F-10S
উপাদান: প্লাস্টিক
সংযোগ ফর্ম: ফ্ল্যাঞ্জ
ড্রাইভিং মোড: ম্যানুয়াল
নামমাত্র চাপ: 10 কেজি
চ্যানেল: স্ট্রেইট থ্রু টাইপ
গঠন: স্থির বল ভালভ
প্রকার: স্থির বল ভালভ
ফাংশন: বাইপাস-ভালভ
তাপমাত্রা: উচ্চ তাপমাত্রা
আবেদন: শিল্প ব্যবহার, জল শিল্প ব্যবহার, গৃহস্থালী ব্যবহার
ট্রেডমার্ক:KXPV
স্পেসিফিকেশন: DN15-DN100
মূল: বেইলুন নিংবো চীন
এইচএস কোড: 8481804090
















