গরম বিক্রির কারখানা সরাসরি DN15-DN250 উচ্চ তাপমাত্রা সর্বশেষ ডিজাইন রাসায়নিক উদ্ভিদের জন্য নতুন UPVC ফ্ল্যাঞ্জ প্লাস্টিক ডায়াফ্রাম ভালভ
আবেদন: সাধারণ
মিডিয়ার তাপমাত্রা: উচ্চ তাপমাত্রা, মাঝারি তাপমাত্রা
শক্তি: ম্যানুয়াল
মিডিয়া: অ্যাসিড
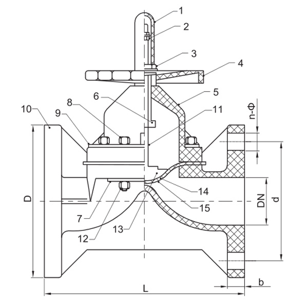
পোর্ট সাইজ: DN15-DN250
গঠন: ডায়াফ্রাম
পণ্যের নাম: UPVC ডায়াফ্রাম ভালভ
সংযোগ: ফ্ল্যাঞ্জ শেষ
শংসাপত্র: ISO9001
মাঝারি: অ্যাসিড
কাজের চাপ: 0-10 বার
ভালভ টাইপ: 1-ওয়ে
সীলমোহর: EPDM F46
ডেলিভারি সময়: 7 দিন
MOQ: 1 পিস
















